បច្ចេកវិទ្យា

សាហាវបាត់! Nikon កំពុងធ្វើការលើ Sensor ស្កេនស្នាមក្រយ៉ៅដៃដែលអាចដឹងពីអារម្មណ៍របស់អ្នកបាន

BY
Khmernote Media
July 17, 2018

ជាការពិតណាស់ Canon ត្រូវបានគេស្កាល់ថាជាក្រុមហ៊ុនឯកទេសជំនាញផ្នែកផលិត sensor ស្កេនស្នាមក្រយ៉ៅដៃសម្រាប់កាមេរ៉ា និងកញ្ចក់ lens ផងដែរ។ ដោយឡែក សម្រាប់ក្រុមហ៊ុន Nikon វិញក៏មិនធម្មតាដូចគ្នា ហើយនាពេលថ្មីៗនេះយើងទទួលបានដំណឹងថាក្រុមហ៊ុននេះកំពុងព្យាយាមបង្កើត sensor សម្រាប់កាមេរ៉ា និង lens បន្ថែមទៀត ដែលអាចចាប់យកពត៌មានទាក់ទងទៅនឹងអារម្មណ៍របស់អ្នកបានពេលថតរូប។

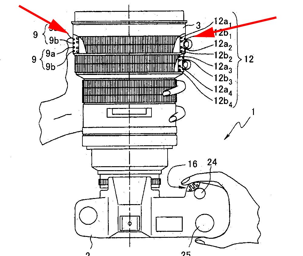
ប៉ាតង់ថ្មីរបស់ក្រុមហ៊ុន Nikon (JP2017-143581) ត្រូវបានបង្ហាញដោយគេហទំព័រ New Camera ហើយមានរៀបរាប់ពី sensor ដែលត្រូវបានផលិតឡើងនៅគៀនម្ខាងនៃ lens ក៏ដូចជាខាងមុខ និងខាងក្រោយនៃតួកាមេរ៉ាប្រភេទ DSLR ផងដែរ។ អ្វីដែលអស្ចារ្យបំផុតគឺ sensor នេះអាចចាប់យកស្នាមមេដៃ និងម្រាមដៃបានពេលអ្នកប្រើប្រាស់ចាប់កាន់ថតរូប។

យោងតាមប្រភពដដែល បានបន្តថា sensor នេះគឺមានសមត្ថភាពស្រដៀងគ្នាទៅនឹង sensor វាស់ចង្វាក់បេះដូង សម្ពាធឈាម ញើស និងកម្ដៅក្នុងខ្លួនដែរ។ ក្រុមហ៊ុន Nikon បាននិយាយថា អ្នកថតរូបភាគច្រើនគឺមានអារម្មណ៍ល្អខ្លាំងណាស់ពេលថតរូប ប៉ុន្ដែអារម្មណ៍នោះមិនប្រាកដថាត្រូវបានចូលទៅក្នុងរូបភាពដូចទៅនឹងអ្វីដែលរំពឹងទុកនោះឡើយ។

Fu

ប្រភព៖ petapixel

Share This Post: