កប់! ក្រុមហ៊ុន Samsung កំពុងព្យាយាមបង្កើតវិធីសាស្ត្រក្នុងការសាកថ្មឥតខ្សែថ្មីដូច Wi-Fi អញ្ចឹង ដោយអ្នកគ្រាន់តែឈរក្នុងបរិវេណ នោះស្មាតហ្វូននឹងសាកថ្ម
- March 26, 2018
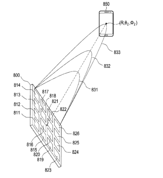
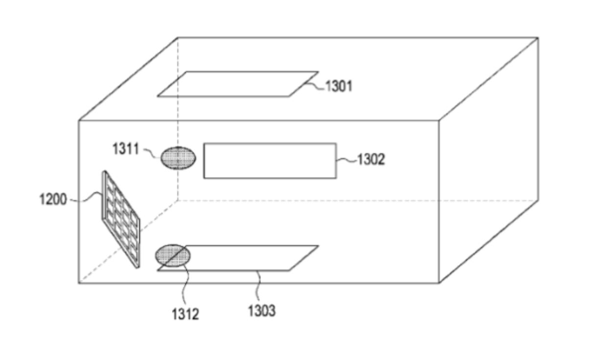
យោងតាមប៉ាតង់របស់ក្រុមហ៊ុន Samsung ដែលត្រូវបានចុះតាំងពីឆ្នាំ2016 មកម្លេះ គឺត្រូវបានប្រកាសជាសាធារណៈហើយដោយអង្គការកម្មសិទ្ធិបញ្ញាពិភពលោក (WIPO)។ ទាក់ទងទៅនឹងប៉ាតង់ថ្មីនេះ គឺមានបង្ហាញពីគម្រោងការរបស់ក្រុមហ៊ុន ក្នុងការបង្កើតបច្ចេកវិទ្យាសាកថ្មឥតខ្សែថ្មីដែលមិនដូចមុនឡើយ ពោលគឺឲ្យតែនៅក្នុងបរិវេណ គឺអាចសាកថ្មបានទាំងអស់ដោយមិនត្រូវការខ្សែ រឺយកស្មាតហ្វូនទៅដាក់ពីលើដុំសាកឡើយ (Over The Air Wireless Charging)។

ជាការពិតណាស់ គម្រោងនេះអាចដំណើរការទៅមុខបានដោយមានការចូលរួមពីក្រុមហ៊ុន Disney ហើយសម្រាប់បច្ចេកវិទ្យា Wireless charge នាពេលបច្ចុប្បន្ន គឺមិនត្រឹមត្រូវឡើយ ពោលគឺអ្នកប្រើប្រាស់តម្រូវឲ្យយកខ្សទៅដោតនឹងព្រីភ្លើង រួចភ្ជាប់មកនឹងដុំសាកដើម្បីយកស្មាតហ្វូនទៅដាក់ពីលើ។ ប៉ុន្ដែជាមួយនឹងបច្ចេកវិទ្យាថ្មីនេះវិញ គឺពង្រាយថាមពលនៅក្នុងអាកាសតែម្ដង ហើយរាល់ស្មាតហ្វូនទាំងអស់ដែលមានបច្ចេកវិទ្យានេះ នឹងត្រូវបានសាកថ្មដោយស្វ័យប្រវត្តិតែម្ដងឲ្យតែស្ថិតនៅក្នុងបរិវេណ។ អាចនិយាយបានថាជាមួយនឹងបច្ចេកវិទ្យា គឺមិនត្រូវការដុំសាកថ្មឡើយ ហើយស្មាតហ្វូនរបស់អ្នកនឹងត្រូវបានសាកថ្មបើទោះជានៅក្នុងហោរប៉ៅក៏ដោយ។
គួរបញ្ជាក់ផងដែរថា ប៉ាតង់របស់ក្រុមហ៊ុន Samsung នេះ ត្រូវបានធ្វើឡើងក្នុងប្រទេសកូរ៉េខាងត្បូង ដែលមានណែនាំពីវិធីសាស្ត្រផ្ដោតសំខាន់ទៅលើថាមពលសម្រាប់បញ្ចូលទៅឲ្យស្មាតហ្វូន ក្នុងបន្ទប់មួយដែលមានបំពាក់ដោយបច្ចេកវិទ្យាសាកថ្មឥតខ្សែ OTA (Over The Air Wireless Charging)។ បន្ទាប់មក ប្រព័ន្ធសាកថ្មនោះនឹងអនុញ្ញាតឲ្យស្មាតហ្វូនអាចសាកថ្មដោយមិនត្រូវការខ្សែ ពោលគឺឲ្យតែអ្នកនៅក្បែរនោះ អាចសាកថ្មបានទាំងអស់។
ទោះជាយ៉ាងណា បច្ចេកវិទ្យានេះពិតជាសាហាវពេកហើយ ដូនេះវាអាចនឹងត្រូវការពេលយូរទៀតដើម្បីបង្កើតឡើង។ តាមរយៈពេលចចាមអារាម បច្ចេកវិទ្យាសាកថ្មឥតខ្សែ OTA អាចនឹងត្រូវបានដាក់ឲ្យប្រើប្រាស់នាកំឡុង 3 ទៅ 5ឆ្នាំខាងមុខទៀត។
ប្រភព៖ phonearena
- Share This Post:








